首页 技术专题 人力资源 给我们留言
热点产品搜索:
首页
|
企业概况
|
新闻中心
|
产品展示
|
技术专题
|
企业业绩
|
服务中心
|
营销市场
|
资料下载
|
联系我们
▲ 当前位置:首页 > 产品目录 > 电磁阀> ZCA真空电磁阀
产品目录 技术专题 服务中心 资料下载
产品目录
大禹总部位于上海浦东新区大麦湾工业区, 生产基地位于南通东安科技工业园,是一家集研发、制造、营销为一体的科技型企业。
公司主导产品有电动/气动调节阀、自力式调节阀、耐腐蚀调节阀、特殊类调节阀、O型、V型球阀、补偿式半球阀、蝶阀、放料阀等38个系列400多个规格的产品,产品在石油、化工、冶金、电力、造纸、环保、轻工等行业中广泛应用。
ZCA真空电磁阀

下一条:ZCF300四氟电磁阀 上一条:ZBSF防爆

产品概述

ZCA真空电磁阀是适用于真空设备管路做二位式通断切换执行机构。它广泛应用于食品、冶金等行业真空系统管路上。

产品特点

1、由于本阀采用橡胶密封,故对工作介质的清洁度大大减低。
2、具有启闭迅速,可靠性高等特点。

技术参数

参数↓ 型号→

ZCA-1

ZCA-2

ZCA-3

ZCA-4

工作压力(Mpa)

-0.1~1.6

介质种类

空气、煤气、真空等

过热蒸汽、高温汽体

水、油、液体

高温水、油

介质温度(℃)

≤60

≤220

≤60

≤220

电源电压

AC220V,其余规格可作特殊订货

公称通径()

15

20

25

32

40

50

流量系数(Kv)

3.8

7.4

10.3

18.8

25.7

41

功率

AC≤60VA DC≤50W

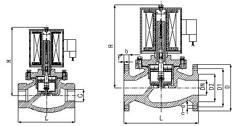
安装尺寸

公称通径
DN

内螺纹连接

法兰连接

外形尺寸

内螺纹

外形尺寸

法兰连接

H

L

G

H

L

D

D1

D2

b

f

n-d

15

153

92

½

153

130

95

65

46

14

2

4-¢14

20

153

92

3/4

153

150

105

75

56

16

2

4-¢14

25

153

110

1

153

160

115

85

65

16

3

4-¢14

32

176

120

176

180

140

100

76

18

3

4-¢18

40

176

140

176

200

150

110

84

18

3

4-¢18

50

192

162

2

192

230

165

125

99

20

3

4-¢18

65

 

 

 

250

290

185

145

118

20

3

4-¢18

80

 

 

 

260

310

200

160

132

20

3

8-¢18

100

 

 

 

290

350

220

180

156

22

3

8-¢18

安装尺寸

公称通径
DN

内螺纹连接

法兰连接

外形尺寸

内螺纹

外形尺寸

法兰连接

H

L

G

H

L

D

D1

D2

b

f

n-d

15

153

92

½

153

130

95

65

46

14

2

4-¢14

20

153

92

3/4

153

150

105

75

56

16

2

4-¢14

25

153

110

1

153

160

115

85

65

16

3

4-¢14

32

176

120

176

180

140

100

76

18

3

4-¢18

40

176

140

176

200

150

110

84

18

3

4-¢18

50

192

162

2

192

230

165

125

99

20

3

4-¢18

65

 

 

 

250

290

185

145

118

20

3

4-¢18

80

 

 

 

260

310

200

160

132

20

3

8-¢18

100

 

 

 

290

350

220

180

156

22

3

8-¢18

技术参数

参数↓ 型号→

ZCA-1

ZCA-2

ZCA-3

ZCA-4

工作压力(Mpa)

-0.1~1.6

介质种类

空气、煤气、真空等

过热蒸汽、高温汽体

水、油、液体

高温水、油

介质温度(℃)

≤60

≤220

≤60

≤220

电源电压

AC220V,其余规格可作特殊订货

公称通径()

15

20

25

32

40

50

流量系数(Kv)

3.8

7.4

10.3

18.8

25.7

41

功率

AC≤60VA DC≤50W

 
公司概况   新闻资讯   产品中心   营销市场   服务中心   联系我们
                     
公司简介
董事长致辞
企业宗旨
组织机构
公司荣誉
厂区概况
  企业新闻
公司文艺角
行业动态
技术文章
  调节阀
蝶阀
电磁阀
球阀
放料阀
刀型闸阀
自力式压力调节阀
衬氟及塑料阀门
工艺阀门
执行机构
  营销市场
营销网络
  服务中心
服务承诺
  联系我们
留言中心
                     
Copyright (c) 2016 上海大禹自控阀门有限公司 沪ICP备15052615号 技术支持:控制阀网