首页 技术专题 人力资源 给我们留言
热点产品搜索:
首页
|
企业概况
|
新闻中心
|
产品展示
|
技术专题
|
企业业绩
|
服务中心
|
营销市场
|
资料下载
|
联系我们
▲ 当前位置:首页 > 产品目录 > 电磁阀> ZBSF防爆
产品目录 技术专题 服务中心 资料下载
产品目录
大禹总部位于上海浦东新区大麦湾工业区, 生产基地位于南通东安科技工业园,是一家集研发、制造、营销为一体的科技型企业。
公司主导产品有电动/气动调节阀、自力式调节阀、耐腐蚀调节阀、特殊类调节阀、O型、V型球阀、补偿式半球阀、蝶阀、放料阀等38个系列400多个规格的产品,产品在石油、化工、冶金、电力、造纸、环保、轻工等行业中广泛应用。
ZBSF防爆

下一条:ZCA真空电磁阀 上一条:已经没有了

产品简介

产品名称:ZBSF不锈钢电磁阀
类型:电磁阀
公称通径:DN3-DN25
公称压力:0.6-1.0Mpa
温度范围:≤155℃
材料:WCB、CF8、CF8M、CF3、CF3M等
关键词:不锈钢电磁阀 电磁阀 ZBSF

产品概述

ZBSF系列电磁阀为分步动作直接作用式电磁阀,在接受电信号控制后能自动开启或关闭,实现对管道中流体介质的流量作通断调节控制。它是工业控制系统中的一种通断控制阀门。可广泛地应用于纺织、化工、塑料、橡胶、制药、食品、建材等企业的生产过程控制系统中。

产品特点

结构简单、紧凑、融合了直动式和先导间接式电磁阀的优点,在低压差或压差为零的情况下也能可靠工作。

主要技术参数与性能

公称通径(mm) 10 15 20 25 32 40 50
公称压力 1.6 MPa
工作压差 0~1.6 MPa
工作介质 腐蚀性流体、超净流体、食用流体 ZBSF-Q:气体用? ZBSF-Y:液体用
介质温度 ≦60℃或≦200℃
电源电压 AC220V其余规格可作特殊订货
功耗(VA) 40 50
使用寿命 按JB/T7352-94规定
额定流量系数
泄漏量 按JB/T7352-94.F级规定
环境温度 -40~+60℃
阀体材质 304不锈钢

工作原理结构原理

ZBSF电磁阀阀芯由主阀与导阀结构组成,开启时动作分步实现,主阀和导阀分步使用电磁力和压差直接开启主阀口。常闭型当电磁线圈通电时,产生电磁力使动铁芯和静铁芯吸合,导阀口开启而导阀口设在主阀口上,且动铁芯与主阀芯连在一起,此时主阀上腔的压力通过导阀口卸荷,主阀下腔压力大于上腔压力,在压力差和电磁力的同时作用下使主阀芯向上运动,开启主阀介质从进口流向出口呈通路。当电磁线圈断电时电磁力消失,此时动铁芯在自重和弹簧力的作用下关闭导阀孔,此时介质从平衡孔中进入主阀芯上腔,使上腔压力升高,此时在弹簧和压力的作用下关闭主阀,介质切断不流通。常开型与此相反。

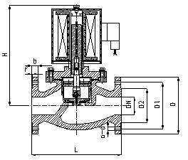
外形及连接尺寸

DN L H D D1 D2 b f n-d
10 115 153 90 60 41 14 2 4-φ14
15 115 153 95 65 46 14 2 4-φ14
20 115 153 105 75 56 16 2 4-φ14
25 125 153 115 85 65 16 3 4-φ14
32 150 176 140 100 76 18 3 4-φ18
40 165 176 150 110 84 18 3 4-φ18
50 190 192 160 125 99 20 3 4-φ18

外形及连接尺寸

DN L H D D1 D2 b f n-d
10 115 153 90 60 41 14 2 4-φ14
15 115 153 95 65 46 14 2 4-φ14
20 115 153 105 75 56 16 2 4-φ14
25 125 153 115 85 65 16 3 4-φ14
32 150 176 140 100 76 18 3 4-φ18
40 165 176 150 110 84 18 3 4-φ18
50 190 192 160 125 99 20 3 4-φ18

主要技术参数与性能

公称通径(mm) 10 15 20 25 32 40 50
公称压力 1.6 MPa
工作压差 0~1.6 MPa
工作介质 腐蚀性流体、超净流体、食用流体 ZBSF-Q:气体用? ZBSF-Y:液体用
介质温度 ≦60℃或≦200℃
电源电压 AC220V其余规格可作特殊订货
功耗(VA) 40 50
使用寿命 按JB/T7352-94规定
额定流量系数
泄漏量 按JB/T7352-94.F级规定
环境温度 -40~+60℃
阀体材质 304不锈钢
 
公司概况   新闻资讯   产品中心   营销市场   服务中心   联系我们
                     
公司简介
董事长致辞
企业宗旨
组织机构
公司荣誉
厂区概况
  企业新闻
公司文艺角
行业动态
技术文章
  调节阀
蝶阀
电磁阀
球阀
放料阀
刀型闸阀
自力式压力调节阀
衬氟及塑料阀门
工艺阀门
执行机构
  营销市场
营销网络
  服务中心
服务承诺
  联系我们
留言中心
                     
Copyright (c) 2016 上海大禹自控阀门有限公司 沪ICP备15052615号 技术支持:控制阀网