首页 技术专题 人力资源 给我们留言
热点产品搜索:
首页
|
企业概况
|
新闻中心
|
产品展示
|
技术专题
|
企业业绩
|
服务中心
|
营销市场
|
资料下载
|
联系我们
▲ 当前位置:首页 > 产品目录 > 快速切断阀> QDY647F气动切断阀
产品目录 技术专题 服务中心 资料下载
产品目录
大禹总部位于上海浦东新区大麦湾工业区, 生产基地位于南通东安科技工业园,是一家集研发、制造、营销为一体的科技型企业。
公司主导产品有电动/气动调节阀、自力式调节阀、耐腐蚀调节阀、特殊类调节阀、O型、V型球阀、补偿式半球阀、蝶阀、放料阀等38个系列400多个规格的产品,产品在石油、化工、冶金、电力、造纸、环保、轻工等行业中广泛应用。
QDY647F气动切断阀

下一条:ZDY40气动薄膜切断 上一条:已经没有了

产品概述

大禹公司生产的气动切断球阀,是在引进国外先进技术的基础上进行特殊设计,精心制造的产品。与电磁阀DC24V电源及0.5~0.7Mpa气源即可控制运转,实现对压力、流量、温度、液位等参数的调节。它是以压缩空气为动力,阀杆带动阀芯在阀体内转动90°,可以实现全开-全闭的动作。该产品按其密封性能分为金属密封与软密封。

产品特点

QDY气动球阀具有结构紧凑、体积精小、运行可靠、密封性好、维修容易、安装方便、适应性强等特点。特别适合于介质是粘稠、含颗粒、纤维性质的场合。可广泛应用于石油,化工、教学设备、轻工、高压设备、制药、造纸等工业自动控制系统中,作远距离集中控制或就地控制。

型号编制说明

工作原理与结构

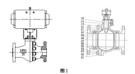
QDY气动调节球阀由气动活塞式执行机构与O型球阀组合构成。(如图1)

GT系列气动执行机构相同规格有双作用式、单作用式(弹簧复位);标准旋转轴角度可调节-5~+50范围;所有滑动部件采用塑料轴承衬套、导向,保持最小摩擦力,并有效地抵抗磨损;外壳表面阳极化电镀,防腐蚀保护;旋转轴镀硬质镍磷合金;螺丝、螺母为不锈钢;单作用式弹簧预装在弹簧座内,很容易装配或增补弹簧数量;连接、安装接口标准化模块设计,方便配装球阀、蝶阀、信号盒及控制附件;可选择旋转方向顺时针旋转或逆时针旋转;两端调节螺丝可调节小于标定角度调整。特殊的腐蚀环境可采用不锈钢外壳。

浮动球阀采用特殊设计的双斜面弹性密封圈,有效的降低了球体与密封圈之间的摩擦力,减少了操作力矩。当介质压力较小时,密封圈与球体接角面积较小,故有较大的密封比压,确保可靠密封。当介质力较大时,密封圈与球体面积也相应增大。故密封圈能承受较大的介质推力而不会损坏,确保可靠密封。当介质的冲刷力较大时,特别设计的阀座防冲刷结构能有效的防止介质的冲刷,确保密封圈的使用寿命。对于低压,超低压或真空工况用球阀,因介质本身的压力不能确保阀座可靠密封,而预紧力长期使用后又会衰减,特别设计的弹簧加载密封结构,能确保阀门长期可靠使用。固定球阀可根据压力大小选择不同的密封形式:进口端密封、出口端密封、进口端双向密封。根据用户的需要,球阀的阀座及阀杆的密封部位,可加装注脂阀。当密封部位因擦伤而引起泄露时,通过注脂注入密封脂,可起瞬时密封存作用。

序号

零件名称

序号

零件名称

序号

零件名称

序号

零件名称

序号

零件名称

1

阀体

4

螺母

7

垫片

10

定位片

13

阀杆

2

密封圈

5

螺柱

8

填料

11

挡圈

14

螺钉

3

球体

6

石体

9

填料压盖

12

手柄

15

止推垫片

主要技术数据

1、球阀主要技术参数

公称通径(mm)

15

20

25

32

40

50

65

80

100

125

150

200

250

额定流量系数??Kv

20

38

72

100

170

270

400

510

940

1400

2200

3500

5000

 

 







 

PN
10
16



 

GTD52

 

GTD65

 

GTD
80

 

GTD
90

GTD
100
(GTD
115)

 

GTD
125

GTD
145
(GTD
160

 

GTD
160

 

GTD
190

GTD
210
(GTD
255)



 

GTE65

 

GTE80

GTE
90
(GTE
100)

(GTE
100)
(GTE
115)

GTE
125
(GTE
145)

GTE
160
(GTE
190)

GTE
190
(GTE
210)

GTE
210
(GTE
255)

 

GTE
255

 

 

PN
40
64



 

GTD52

 

GTD65

 

GTD
80

 

GTD
90

 

GTD
100

 

GTD
125

 

GTD
160

GTD
190
(GTD
210)

 

GTD
255

 

单作

GTE
65

GTE80

GTE
90

GTE
100

GTE
115

GTE
145

GTE
190

GTE
210

GTE
255

 

气源操作压力KPa

500

公称压力??MPa

1.0、1.6、4.0、6.4

额定转角°

90

流量特性

快开

介质温度 ℃

-20~+120

法兰尺寸型式

按JB78—59

阀体材质

WCB、HT200、ZG230—450、ZG1Cr18Ni9Ti、ZGOCr18Ni12Mo2Ti、WCB内衬四氟乙烯、CF8、CF8M

球体材质

1Cr18Ni9Ti、OCr18Ni12Mo2Ti

注:1、GTE为单作用执行机构,GTD为双作用执行机构。
2、GTD52型执行机构带手轮机构时,应增大一档为GTD65。
3、括号内选用的执行机构,适用于非润滑的干气介质及压差较大场合。

公称通径(DN)

15

20

25

32

40

50

65

80

100

125

150

200

250

300

流量系数(KV)

20

38

72

110

170

215

380

550

890

1400

2000

3580

5650

8100

动作范围

0-90°

允许压差△P

小于公称压力(1.6Mpa)

泄漏量Q

按API598标准测试?无泄漏

基本误差

2%??带定位器

回差

2%??带定位器

死区

0.6%??带定位器

2、性能规格表

公称通径(DN)

15

20

25

32

40

50

65

80

100

125

150

200

250

300

流量系数(KV)

20

38

72

110

170

215

380

550

890

1400

2000

3580

5650

8100

动作范围

0-90°

允许压差△P

小于公称压力(1.6 Mpa)

泄漏量Q

按API598标准测试 ?无泄漏

基本误差

2% ??带定位器

回差

2% ??带定位器

死区

0.6% ??带定位器

3、阀体温度压力额定值


温度

最大工作压力(MPa)

PN16

PN25

PN40

WCB

ZG1Cr18Ni9Ti

WCB

ZG1Cr18Ni9Ti

WCB

ZG1Cr18Ni9Ti

20

1.6

1.52

2.5

2.38

4.0

3.8

100

1.6

1.31

2.5

2.15

4.0

3.44

150

1.57

1.29

2.45

2.01

3.90

3.22

200

1.52

1.21

2.38

1.89

3.80

3.02

250

1.44

1.13

2.25

1.77

3.60

2.83

试验
压力

壳体(液体)

1.5×最大工作压力

密封(液体)

1.1×最大工作压力

低压密封(空气)

0.6(MPa)

4、配件

(1)可配执行机构——GTD/GTE系列、HES系列、AW系列。 ?
(2)可配附件——电磁阀、行程开关、空气过滤减压器、电/气阀门定位器、手轮等。

外形尺寸

QDY641气动球阀主要外形和连接尺寸(配GT系列气动执行器)

配GTE\GTD执行机构O型球阀外形尺寸图

图3

●PN10 DN15~300配执行机构外形尺寸及重量 单位:mm

公称
通径
DN

D

D1

H

 

L

E

 

n—d

气源
孔径

参考
重量
Kg

双作用

单作用

双作用

单作用

15

95

65

225

230

130

140

178

4—φ14

G1/4″

6

20

105

75

225

230

135

140

178

4—φ14

G1/4″

7

25

115

85

230

235

147

140

178

4—φ14

G1/4″

8

32

135

100

281

310

165

164

214

4—φ18

G1/4″

12

40

145

110

300

330

165

164

214

4—φ18

G1/4″

14

50

160

125

328

338(354)

200

190

246(295)

4—φ18

G1/4″

18

65

180

145

360

376(397)

220

210

295(340)

4—φ18

G1/4″

25.9

80

195

160

390(411)

416(450)

250

247(276)

398(438)

4—φ18

G1/4″

34.5

100

215

180

444

486(545)

280

308

478(562)

8—φ18

G1/4″

61

125

245

210

503(520)

569(592)

320

348(378)

562(724)

8—φ18

G1/4″

104

150

280

240

588

660(707)

360

378

724(928)

8—φ23

G1/4″

158

200

335

295

652

722

457

432

928

8—φ23

G1/4″

276

250

390

350

718(767)

800

533

524(648)

1430

12—φ23

G1/4″

425

300

440

400

 

 

610

 

 

 

 

580

注:1、括号内为非润滑的干气介质及压差较大场合执行机构的尺寸。
2、系列球阀结构长度及连接法兰尺寸可根据JB78—59标准或用户要求设计制造。
3、根据不同阀门扭矩,使用不同介质,适配的执行器型号可能有所不同,相关尺寸随之变化。

● PN16 DN15~300配执行机构外形尺寸及重量 单位:mm

公称
通径
DN

D

D1

H

 

L

E

n—d

气源
孔径

参考重量
Kg

双作用

单作用

双作用

单作用

15

95

65

225

230

130

140

178

4—φ14

G1/4″

6

20

105

75

225

230

130

140

178

4—φ14

G1/4″

7

25

115

85

230

235

140

140

178

4—φ14

G1/4″

8

32

135

100

281

310

165

164

214

4—φ18

G1/4″

12

40

145

110

300

330

165

164

214

4—φ18

G1/4″

14

50

160

125

328

338(354)

200

190

246(295)

4—φ18

G1/4″

18

65

180

145

360

376(397)

220

210

295(340)

4—φ18

G1/4″

25.9

80

195

160

390(411)

416(450)

250

247(276)

398(438)

8—φ18

G1/4″

34

100

215

180

444

486(545)

280

308

478(562)

8—φ18

G1/4″

61

125

245

210

503(520)

569(592)

320

348(378)

562(724)

8—φ18

G1/4″

104

150

280

240

588

660(707)

360

378

724(928)

8—φ23

G1/4″

158

200

335

295

652

722

457

432

928

12—φ23

G1/4″

265

250

405

350

790

800

533

524(648)

1430

12—φ25

G1/4″

275

300

460

410

870

 

610

 

 

 

 

注:1、括号内为非润滑的干气介质及压差较大场合执行机构的尺寸。
2、系列球阀结构长度及连接法兰尺寸可根据JB78—59标准或用户要求设计制造。
3、根据不同阀门扭矩,使用不同介质,适配的执行器型号可能有所不同,相关尺寸随之变化。

● PN40 DN15~300配执行机构外形尺寸及重量 单位:mm

公称
通径
DN

D

D1

H

L

E

n—d

气源
孔径

重量
Kg

双作用

单作用

双作用

单作用

15

95

65

2234

229

140

140

178

4—φ14

G1/4″

8

20

105

75

225

258

152

140

214

4—φ14

G1/4″

11

25

115

85

235

263

165

164

214

4—φ14

G1/4″

12

32

135

100

286

324

178

164

246

4—φ18

G1/4″

17

40

145

110

328

354

190

190

295

4—φ18

G1/4″

22

50

160

125

348

385

216

210

340

4—φ18

G1/4″

28

65

180

145

388

440

241

247

438

8—φ18

G1/4″

44

80

195

160

426

526

283

308

562

8—φ18

G1/4″

72

100

230

190

506

578

305

378

724

8—φ23

G1/4″

101

125

270

220

607(634)

677

381

432(524)

928

8—φ25

G1/4″

190

150

300

250

709

736

403

648

1430

8—φ25

G1/4″

200

200

375

320

796

863

419

1380

1845

12—φ30

 

 

250

445

385

890

870

568

1380

2605

12—φ34

 

 

300

510

450

 

 

648

 

 

 

 

注:1、括号内为非润滑的干气介质及压差较大场合执行机构的尺寸。
2、系列球阀结构长度及连接法兰尺寸可根据JB78—59标准或用户要求设计制造。
3、根据不同阀门扭矩,使用不同介质,适配的执行器型号可能有所不同,相关尺寸随之变化。

● PN64 DN15~300配执行机构外形尺寸及重量 单位:mm

公称通径
DN

D

D1

H1

H

L

E

n—d

气源
孔径

重量
Kg

双作用

单作用

双作用

单作用

15

105

75

30

223

229

133

140

178

4—φ14

G1/4″

10

20

125

90

37.5

225

258

145

140

214

4—φ18

G1/4″

13

25

135

100

39

235

263

156

164

214

4—φ18

G1/4″

15

32

150

110

65

286

324

178

164

246

4—φ23

G1/4″

22

40

165

125

87.5

328

354

200

190

295

4—φ23

G1/4″

27

50

175

135

87.5

348

385

215

210

340

4—φ23

G1/4″

34

65

200

160

98

388

440

241

247

438

8—φ23

G1/4″

54

80

210

170

112.5

426

526

260

308

562

8—φ23

G1/4″

84

100

250

200

133

506

578

300

378

724

8—φ25

G1/4″

120

125

295

240

200

607(634)

677

381

432(524)

928

8—φ30

G1/4″

213

150

340

280

270

709

736

403

648

1430

8—φ34

G1/4″

240

200

405

345

300

796

863

502

648

1430

12—φ34

 

 

250

470

400

350

890

870

568

715

2605

12—φ41

 

 

300

530

460

 

 

 

 

 

 

 

 

注:1、括号内为非润滑的干气介质及压差较大场合执行机构的尺寸。
2、系列球阀结构长度及连接法兰尺寸可根据JB78—59标准或用户要求设计制造。
3、根据不同阀门扭矩,使用不同介质,适配的执行器型号可能有所不同,相关尺寸随之变化。

主要技术数据

1、球阀主要技术参数

公称通径(mm)

15

20

25

32

40

50

65

80

100

125

150

200

250

额定流量系数??Kv

20

38

72

100

170

270

400

510

940

1400

2200

3500

5000

 

 







 

PN
10
16



 

GTD52

 

GTD65

 

GTD
80

 

GTD
90

GTD
100
(GTD
115)

 

GTD
125

GTD
145
(GTD
160

 

GTD
160

 

GTD
190

GTD
210
(GTD
255)



 

GTE65

 

GTE80

GTE
90
(GTE
100)

(GTE
100)
(GTE
115)

GTE
125
(GTE
145)

GTE
160
(GTE
190)

GTE
190
(GTE
210)

GTE
210
(GTE
255)

 

GTE
255

 

 

PN
40
64



 

GTD52

 

GTD65

 

GTD
80

 

GTD
90

 

GTD
100

 

GTD
125

 

GTD
160

GTD
190
(GTD
210)

 

GTD
255

 

单作

GTE
65

GTE80

GTE
90

GTE
100

GTE
115

GTE
145

GTE
190

GTE
210

GTE
255

 

气源操作压力KPa

500

公称压力??MPa

1.0、1.6、4.0、6.4

额定转角°

90

流量特性

快开

介质温度 ℃

-20~+120

法兰尺寸型式

按JB78—59

阀体材质

WCB、HT200、ZG230—450、ZG1Cr18Ni9Ti、ZGOCr18Ni12Mo2Ti、WCB内衬四氟乙烯、CF8、CF8M

球体材质

1Cr18Ni9Ti、OCr18Ni12Mo2Ti

注:1、GTE为单作用执行机构,GTD为双作用执行机构。
2、GTD52型执行机构带手轮机构时,应增大一档为GTD65。
3、括号内选用的执行机构,适用于非润滑的干气介质及压差较大场合。

公称通径(DN)

15

20

25

32

40

50

65

80

100

125

150

200

250

300

流量系数(KV)

20

38

72

110

170

215

380

550

890

1400

2000

3580

5650

8100

动作范围

0-90°

允许压差△P

小于公称压力(1.6Mpa)

泄漏量Q

按API598标准测试?无泄漏

基本误差

2%??带定位器

回差

2%??带定位器

死区

0.6%??带定位器

2、性能规格表

公称通径(DN)

15

20

25

32

40

50

65

80

100

125

150

200

250

300

流量系数(KV)

20

38

72

110

170

215

380

550

890

1400

2000

3580

5650

8100

动作范围

0-90°

允许压差△P

小于公称压力(1.6 Mpa)

泄漏量Q

按API598标准测试 ?无泄漏

基本误差

2% ??带定位器

回差

2% ??带定位器

死区

0.6% ??带定位器

3、阀体温度压力额定值


温度

最大工作压力(MPa)

PN16

PN25

PN40

WCB

ZG1Cr18Ni9Ti

WCB

ZG1Cr18Ni9Ti

WCB

ZG1Cr18Ni9Ti

20

1.6

1.52

2.5

2.38

4.0

3.8

100

1.6

1.31

2.5

2.15

4.0

3.44

150

1.57

1.29

2.45

2.01

3.90

3.22

200

1.52

1.21

2.38

1.89

3.80

3.02

250

1.44

1.13

2.25

1.77

3.60

2.83

试验
压力

壳体(液体)

1.5×最大工作压力

密封(液体)

1.1×最大工作压力

低压密封(空气)

0.6(MPa)

4、配件

(1)可配执行机构——GTD/GTE系列、HES系列、AW系列。 ?
(2)可配附件——电磁阀、行程开关、空气过滤减压器、电/气阀门定位器、手轮等。

外形尺寸

QDY641气动球阀主要外形和连接尺寸(配GT系列气动执行器)

配GTE\GTD执行机构O型球阀外形尺寸图

图3

●PN10 DN15~300配执行机构外形尺寸及重量 单位:mm

公称
通径
DN

D

D1

H

 

L

E

 

n—d

气源
孔径

参考
重量
Kg

双作用

单作用

双作用

单作用

15

95

65

225

230

130

140

178

4—φ14

G1/4″

6

20

105

75

225

230

135

140

178

4—φ14

G1/4″

7

25

115

85

230

235

147

140

178

4—φ14

G1/4″

8

32

135

100

281

310

165

164

214

4—φ18

G1/4″

12

40

145

110

300

330

165

164

214

4—φ18

G1/4″

14

50

160

125

328

338(354)

200

190

246(295)

4—φ18

G1/4″

18

65

180

145

360

376(397)

220

210

295(340)

4—φ18

G1/4″

25.9

80

195

160

390(411)

416(450)

250

247(276)

398(438)

4—φ18

G1/4″

34.5

100

215

180

444

486(545)

280

308

478(562)

8—φ18

G1/4″

61

125

245

210

503(520)

569(592)

320

348(378)

562(724)

8—φ18

G1/4″

104

150

280

240

588

660(707)

360

378

724(928)

8—φ23

G1/4″

158

200

335

295

652

722

457

432

928

8—φ23

G1/4″

276

250

390

350

718(767)

800

533

524(648)

1430

12—φ23

G1/4″

425

300

440

400

 

 

610

 

 

 

 

580

注:1、括号内为非润滑的干气介质及压差较大场合执行机构的尺寸。
2、系列球阀结构长度及连接法兰尺寸可根据JB78—59标准或用户要求设计制造。
3、根据不同阀门扭矩,使用不同介质,适配的执行器型号可能有所不同,相关尺寸随之变化。

● PN16 DN15~300配执行机构外形尺寸及重量 单位:mm

公称
通径
DN

D

D1

H

 

L

E

n—d

气源
孔径

参考重量
Kg

双作用

单作用

双作用

单作用

15

95

65

225

230

130

140

178

4—φ14

G1/4″

6

20

105

75

225

230

130

140

178

4—φ14

G1/4″

7

25

115

85

230

235

140

140

178

4—φ14

G1/4″

8

32

135

100

281

310

165

164

214

4—φ18

G1/4″

12

40

145

110

300

330

165

164

214

4—φ18

G1/4″

14

50

160

125

328

338(354)

200

190

246(295)

4—φ18

G1/4″

18

65

180

145

360

376(397)

220

210

295(340)

4—φ18

G1/4″

25.9

80

195

160

390(411)

416(450)

250

247(276)

398(438)

8—φ18

G1/4″

34

100

215

180

444

486(545)

280

308

478(562)

8—φ18

G1/4″

61

125

245

210

503(520)

569(592)

320

348(378)

562(724)

8—φ18

G1/4″

104

150

280

240

588

660(707)

360

378

724(928)

8—φ23

G1/4″

158

200

335

295

652

722

457

432

928

12—φ23

G1/4″

265

250

405

350

790

800

533

524(648)

1430

12—φ25

G1/4″

275

300

460

410

870

 

610

 

 

 

 

注:1、括号内为非润滑的干气介质及压差较大场合执行机构的尺寸。
2、系列球阀结构长度及连接法兰尺寸可根据JB78—59标准或用户要求设计制造。
3、根据不同阀门扭矩,使用不同介质,适配的执行器型号可能有所不同,相关尺寸随之变化。

● PN40 DN15~300配执行机构外形尺寸及重量 单位:mm

公称
通径
DN

D

D1

H

L

E

n—d

气源
孔径

重量
Kg

双作用

单作用

双作用

单作用

15

95

65

2234

229

140

140

178

4—φ14

G1/4″

8

20

105

75

225

258

152

140

214

4—φ14

G1/4″

11

25

115

85

235

263

165

164

214

4—φ14

G1/4″

12

32

135

100

286

324

178

164

246

4—φ18

G1/4″

17

40

145

110

328

354

190

190

295

4—φ18

G1/4″

22

50

160

125

348

385

216

210

340

4—φ18

G1/4″

28

65

180

145

388

440

241

247

438

8—φ18

G1/4″

44

80

195

160

426

526

283

308

562

8—φ18

G1/4″

72

100

230

190

506

578

305

378

724

8—φ23

G1/4″

101

125

270

220

607(634)

677

381

432(524)

928

8—φ25

G1/4″

190

150

300

250

709

736

403

648

1430

8—φ25

G1/4″

200

200

375

320

796

863

419

1380

1845

12—φ30

 

 

250

445

385

890

870

568

1380

2605

12—φ34

 

 

300

510

450

 

 

648

 

 

 

 

注:1、括号内为非润滑的干气介质及压差较大场合执行机构的尺寸。
2、系列球阀结构长度及连接法兰尺寸可根据JB78—59标准或用户要求设计制造。
3、根据不同阀门扭矩,使用不同介质,适配的执行器型号可能有所不同,相关尺寸随之变化。

● PN64 DN15~300配执行机构外形尺寸及重量 单位:mm

公称通径
DN

D

D1

H1

H

L

E

n—d

气源
孔径

重量
Kg

双作用

单作用

双作用

单作用

15

105

75

30

223

229

133

140

178

4—φ14

G1/4″

10

20

125

90

37.5

225

258

145

140

214

4—φ18

G1/4″

13

25

135

100

39

235

263

156

164

214

4—φ18

G1/4″

15

32

150

110

65

286

324

178

164

246

4—φ23

G1/4″

22

40

165

125

87.5

328

354

200

190

295

4—φ23

G1/4″

27

50

175

135

87.5

348

385

215

210

340

4—φ23

G1/4″

34

65

200

160

98

388

440

241

247

438

8—φ23

G1/4″

54

80

210

170

112.5

426

526

260

308

562

8—φ23

G1/4″

84

100

250

200

133

506

578

300

378

724

8—φ25

G1/4″

120

125

295

240

200

607(634)

677

381

432(524)

928

8—φ30

G1/4″

213

150

340

280

270

709

736

403

648

1430

8—φ34

G1/4″

240

200

405

345

300

796

863

502

648

1430

12—φ34

 

 

250

470

400

350

890

870

568

715

2605

12—φ41

 

 

300

530

460

 

 

 

 

 

 

 

 

注:1、括号内为非润滑的干气介质及压差较大场合执行机构的尺寸。
2、系列球阀结构长度及连接法兰尺寸可根据JB78—59标准或用户要求设计制造。
3、根据不同阀门扭矩,使用不同介质,适配的执行器型号可能有所不同,相关尺寸随之变化。

 
公司概况   新闻资讯   产品中心   营销市场   服务中心   联系我们
                     
公司简介
董事长致辞
企业宗旨
组织机构
公司荣誉
厂区概况
  企业新闻
公司文艺角
行业动态
技术文章
  调节阀
蝶阀
电磁阀
球阀
放料阀
刀型闸阀
自力式压力调节阀
衬氟及塑料阀门
工艺阀门
执行机构
  营销市场
营销网络
  服务中心
服务承诺
  联系我们
留言中心
                     
Copyright (c) 2016 上海大禹自控阀门有限公司 沪ICP备15052615号 技术支持:控制阀网