首页 技术专题 人力资源 给我们留言
热点产品搜索:
首页
|
企业概况
|
新闻中心
|
产品展示
|
技术专题
|
企业业绩
|
服务中心
|
营销市场
|
资料下载
|
联系我们
▲ 当前位置:首页 > 产品目录 > 电动调节阀> ZQDY电动防爆
产品目录 技术专题 服务中心 资料下载
产品目录
大禹总部位于上海浦东新区大麦湾工业区, 生产基地位于南通东安科技工业园,是一家集研发、制造、营销为一体的科技型企业。
公司主导产品有电动/气动调节阀、自力式调节阀、耐腐蚀调节阀、特殊类调节阀、O型、V型球阀、补偿式半球阀、蝶阀、放料阀等38个系列400多个规格的产品,产品在石油、化工、冶金、电力、造纸、环保、轻工等行业中广泛应用。
ZQDY电动防爆

下一条:ZRDY保温调节阀 上一条:ZQDY电动调节阀高温

产品简介

产品名称:ZRSJP/M电动单座(套筒)调节阀
类型:单座(套筒)
公称通径:DN20-DN200
公称压力:1.6-6.4Mpa
温度范围:-60-+450℃
材料:铸铁、碳钢、不锈钢、铸不锈钢、铸钢等
关键词:电动调节阀 单座调节阀 套筒调节阀 ZRSJP/M调节阀

产品概述

ZRSJP/M型电子式精小型电动单座(套筒)调节阀,是工控系统中应用最多的一种。由低流阻直通单座阀或低流阻套筒阀配德国进口PS系列、国产QS系列、3810(3410开关)系列、DKZ系列等直行程电动执行机构组成。电动执行机构内有伺服放大器,无需另配用伺服放大器,有输入控制信号(4-20mADC或1-5VDC)及单相电源即可控制运转,实现对压力、流量、温度、液位等参数的调节。?

产品特点

1、ZRSJP型电子式精小型电动单座调节阀只有一个阀座和一个阀芯,具有关闭性能好、泄漏量小、流量特性准确、可调比大的特点。故适用于介质泄漏量及调节精度有严格要求的场合。
2、ZRSJM型电子式精小型电动套筒调节阀采用了平衡式结构,阀杆上不平衡力很小,稳定性好,适用于阀两端压差较高的场合。并具有噪音低、空化作用小、寿命长等优点。但阀座泄漏率较单座阀大。两者都广泛应用于电力、石油、化工、冶金、环保、轻工、教学和科研设备等行业的工业过程自动控制系统中。

主要技术数据

1、主要技术性能指标

项目 指标
泄漏量 单座:金属阀座:IV级,小于额定流量的10-4软阀座:VI级,小于额定流量的10-7 套筒 :单密封型 IV级,小于额定流量的 10-4;双密封型Ⅲ 级,小于额定流量的 10-3。 符合GB4213-92标准
基本误差 ±2.5%
回  差 2.0%
死  区 3.0%
始终点偏差 ±2.5%
额定行程偏差 2.5%

规格和技术参数

公称通径 mm G3/4″ 20 25 40 50 65 80 100 125 150 200
阀座直径 3/4/5/6/7/8 10 12 15 20 25 32 40 50 65 80 100 125 150 200
额定流量系数KV 单座 直线 0.08/0.22/0.20/0.32/0.50/0.80 1.8 2.8 4.4 6.9 11 17.6 27.5 44 69 110 176 275 440 690
等百分比 1.6 2.5 4 6.3 10 16 25 40 63 100 160 250 400 630
套筒 直线           6.9 11 17.6 27.5 44 69 110 176 275 400 630
等百分比           6.3 10 16 25 40 63 100 160 250 360 570
额定行程 10 16 25 40 60
公称压力  Mpa 单座、套筒:1.6、4.0、6.4
阀体、阀盖 WCB、ZG1Cr18Ni9Ti、 CF8M、CF3M、316、316L、耐腐蚀合金等。
阀芯、阀座 1Cr18Ni9Ti、 316、316L;钛,耐腐蚀合金,不锈钢堆焊司太莱合金等。
阀芯形式 单座:金属阀座:IV级,小于额定流量的104   软阀座:VI级,小于额定流量的107套筒:单密封—单座套筒式柱塞型阀芯;  双密封—双座套筒式柱塞型阀芯。
填料材质 聚四氟乙烯、柔性石墨、不锈钢波纹管
流量特性 直线、等百分比、快开特性
作用形式 电开式、电关式
工作温度 普通型:铸铁-20~200℃,铸钢-40~250℃,铸不锈钢-60~250℃散热片型:铸钢-40~450℃,铸不锈钢-60~450℃,特殊订货:450~600℃,低温型:ZG1Cr18Ni9Ti(-196℃)、CF8M、CF3M(-253℃)
可调范围 单座30:1、50:1;套筒30:1、50:1
工作条件 温度:-25℃~+55℃相对湿度:5%~100%

允许压差

选用调节阀,除考虑上述条件外,还应注意到从推力角度出发,调节阀能否正常工作的问题,用特征数值表达就是允许是否大于最大工作压差,所以在选用时要使最大工作压差小于调节阀的允许压差。

公称通径(mm) 20 25 40 50 65 80 100 125 150 200
阀座直径(mm) 10 12 15 20 25 32 40 50 65 80 100 125 150 200
允许压差 (Mpa) 单座式 6.4 4.5 2.5 3.2 3.2 2.15 1.4 1.37 0.94 0.6 0.52 0.32 0.2
套筒式   6.4 3.7 3.7 2.4 2.4 1.5 0.8 3.1 3.1 3.1

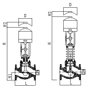
外形尺寸

图2

公称通径DN L H1 H D H2
常温 中温
PN(Mpa) PN(Mpa) PN(Mpa) PN(Mpa)
0.6、1.6 4.0 6.4 0.6 1.6 4.0 6.4 0.6、1.6 4.0 6.4 4.0 6.4
G3/4″ 120 120 120 31 31 31 ? ? ? ? ? ? 255 260
20 181 194 206 45 52.5 52.5 65 546.5 546.5 556.5 696.5 706.5 255 260
25 184 197 210 50 57.5 57.5 70 563.5 563.5 573.5 715.5 725.5 255 260
32 200 215 230 ? 70 70 77.5 576 576 5860 728 7330 255 260
40 222 235 251 65 75 75 85 720.5 720.5 730.5 900.5 910.5 255 260
50 254 267 286 70 82.5 82.5 90 735 735 742.5 915 922.5 255 260
65 276 292 311 80 92.5 92.5 102.5 843 843 853 1045 1053 310 370
80 298 317 337 95 100 100 107.5 861.5 861.5 869 1061.5 1069 310 370
100 352 368 394 105 110 117.5 125 882.5 890 900 1090 1100 310 370
125 410 425 450 125 125 135 165 902.5 907.5 940 1107.5 1140 310 370
150 451 473 508 132.5 142.5 150 172.5 1189 1199 1219 1434 1454 310 370
200 600 610 650 160 170 187.5 207.5 1240.5 1260.5 1275.5 1495.5 1510.5 310 370

外形尺寸

图2

公称通径DN L H1 H D H2
常温 中温
PN(MPa) PN(MPa) PN(MPa) PN(MPa)
0.6、1.6 4.0 6.4 0.6 1.6 4.0 6.4 0.6、1.6 4.0 6.4 4.0 6.4
G3/4″ 120 120 120 31 31 31 ? ? ? ? ? ? 255 260
20 181 194 206 45 52.5 52.5 65 546.5 546.5 556.5 696.5 706.5 255 260
25 184 197 210 50 57.5 57.5 70 563.5 563.5 573.5 715.5 725.5 255 260
32 200 215 230 ? 70 70 77.5 576 576 5860 728 7330 255 260
40 222 235 251 65 75 75 85 720.5 720.5 730.5 900.5 910.5 255 260
50 254 267 286 70 82.5 82.5 90 735 735 742.5 915 922.5 255 260
65 276 292 311 80 92.5 92.5 102.5 843 843 853 1045 1053 310 370
80 298 317 337 95 100 100 107.5 861.5 861.5 869 1061.5 1069 310 370
100 352 368 394 105 110 117.5 125 882.5 890 900 1090 1100 310 370
125 410 425 450 125 125 135 165 902.5 907.5 940 1107.5 1140 310 370
150 451 473 508 132.5 142.5 150 172.5 1189 1199 1219 1434 1454 310 370
200 600 610 650 160 170 187.5 207.5 1240.5 1260.5 1275.5 1495.5 1510.5 310 370

主要技术数据

1、主要技术性能指标

项目 指标
泄漏量 单座:金属阀座:IV级,小于额定流量的10-4软阀座:VI级,小于额定流量的10-7 套筒 :单密封型 IV级,小于额定流量的 10-4;双密封型Ⅲ 级,小于额定流量的 10-3。 符合GB4213-92标准
基本误差 ±2.5%
回  差 2.0%
死  区 3.0%
始终点偏差 ±2.5%
额定行程偏差 2.5%

规格和技术参数

公称通径 mm G3/4″ 20 25 40 50 65 80 100 125 150 200
阀座直径 3/4/5/6/7/8 10 12 15 20 25 32 40 50 65 80 100 125 150 200
额定流量系数KV 单座 直线 0.08/0.22/0.20/0.32/0.50/0.80 1.8 2.8 4.4 6.9 11 17.6 27.5 44 69 110 176 275 440 690
等百分比 1.6 2.5 4 6.3 10 16 25 40 63 100 160 250 400 630
套筒 直线           6.9 11 17.6 27.5 44 69 110 176 275 400 630
等百分比           6.3 10 16 25 40 63 100 160 250 360 570
额定行程 10 16 25 40 60
公称压力  MPa 单座、套筒:1.6、4.0、6.4
阀体、阀盖 WCB、ZG1Cr18Ni9Ti、 CF8M、CF3M、316、316L、耐腐蚀合金等。
阀芯、阀座 1Cr18Ni9Ti、 316、316L;钛,耐腐蚀合金,不锈钢堆焊司太莱合金等。
阀芯形式 单座:金属阀座:IV级,小于额定流量的104   软阀座:VI级,小于额定流量的107套筒:单密封—单座套筒式柱塞型阀芯;  双密封—双座套筒式柱塞型阀芯。
填料材质 聚四氟乙烯、柔性石墨、不锈钢波纹管
流量特性 直线、等百分比、快开特性
作用形式 电开式、电关式
工作温度 普通型:铸铁-20~200℃,铸钢-40~250℃,铸不锈钢-60~250℃散热片型:铸钢-40~450℃,铸不锈钢-60~450℃,特殊订货:450~600℃,低温型:ZG1Cr18Ni9Ti(-196℃)、CF8M、CF3M(-253℃)
可调范围 单座30:1、50:1;套筒30:1、50:1
工作条件 温度:-25℃~+55℃相对湿度:5%~100%
 
公司概况   新闻资讯   产品中心   营销市场   服务中心   联系我们
                     
公司简介
董事长致辞
企业宗旨
组织机构
公司荣誉
厂区概况
  企业新闻
公司文艺角
行业动态
技术文章
  调节阀
蝶阀
电磁阀
球阀
放料阀
刀型闸阀
自力式压力调节阀
衬氟及塑料阀门
工艺阀门
执行机构
  营销市场
营销网络
  服务中心
服务承诺
  联系我们
留言中心
                     
Copyright (c) 2016 上海大禹自控阀门有限公司 沪ICP备15052615号 技术支持:控制阀网